Top
Registrazione rapida

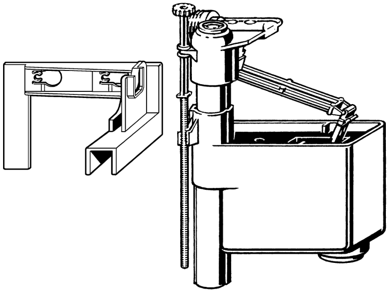
72090 Valvola di riempimento e supporto per cassetta

 ritorno

72090 Valvola di riempimento e supporto per cassetta

per cassetta sotto muro (tutti modelli fino al 2022, tranne 72090.10)

Archiviertes Produkt

Info
materiale principale materiale sintetico
per serie di modelli fino a 2022

Varianti prodotto

Legenda
Art. n° VE RK VE suissetec Ordinare
72090.50 1 1 - non più disponibile

CAD / BIM

Descrizione Valvola di riempimento e supporto per cassetta
Dimensione
Numero di articolo
72090.50